

Klämma för tand 32x10 med förstärkningsfjäder 32x10
Försäljningspris 54,00 SEK/ Exkl. moms
Vikt: 470 kg


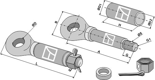
Släpvagnskopplingsring (MOT (Tyskland) - kontrollerad)
Försäljningspris 854,00 SEK/ Exkl. moms
Vikt: 7480 kg








































