

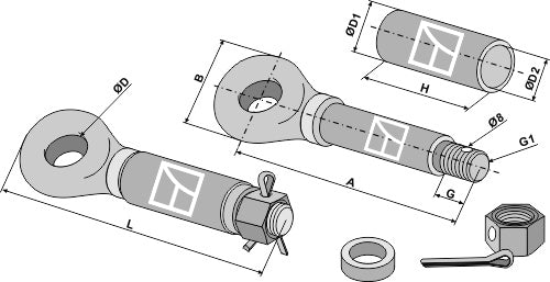
Släpvagnskopplingsring (MOT (Tyskland) - kontrollerad)
Försäljningspris 514,00 SEK/ Exkl. moms
Vikt: 6360 kg


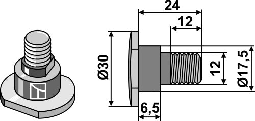
Bult för roterande gräsklipparknivar – M12x1,75 – 12,9
Försäljningspris 35,00 SEK/ Exkl. moms
Vikt: 48 kg








































