Tekniske attributter
- Maskintype
- Ikke aktuelt
- Gruppe
- Deler til slagklippere
- Undergruppe
- Slagklipperblader og Y-kniver
- Tråd
- Ikke aktuelt
- Kvalitet
- Ikke aktuelt
- Lengde
- Ikke aktuelt
- Trådlengde
- Ikke aktuelt
- Åpning av skiftenøkkelen
- Ikke aktuelt
- Diameter
- Ikke aktuelt
- Hull
- Ikke aktuelt
- Opprinnelige tall
- Ikke aktuelt
Tilbehør
Bolt
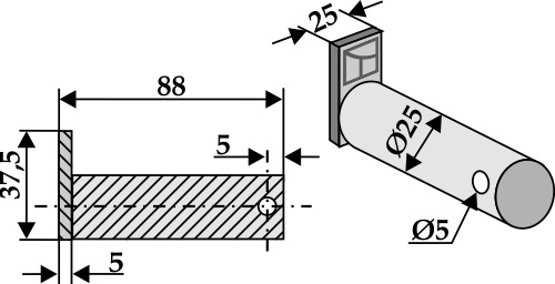
- Lengde
- 88
- Hull
- 5
- Diameter
- 25
Laster inn produkt ...
Bøssing 19xØ25xØ45
- Lengde
- 19
- Hull
- 25
- Utvendig diameter
- 45
Laster inn produkt ...
Frakt
-
Standard2–5 dager€18Gratis over €150
-
Ekspress (bestill før 11:30)Vanligvis neste ukedag€36Gratis over €300
-
PallePasser for store/tunge bestillinger€45Gratis over €500
Ekspresslevering vanligvis neste ukedag. Leveringstidene kan variere avhengig av sted.
Beskrivelse
L-blad 120x50mm



