
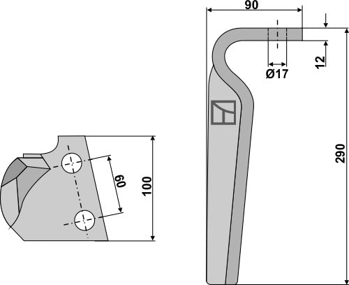
Efterfølgende roterende harver til venstre - 1550
Salgspris 20.039,00 SEK/ Ekskl. moms
Vægt: 62620 kg










































