

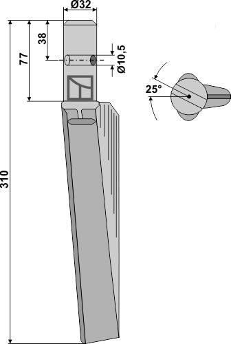
Tand till rotorharv (DURAFACE) 310 mm, höger
Försäljningspris48,50 kr/ Exkl. moms
Vikt: 2220 kg













































