

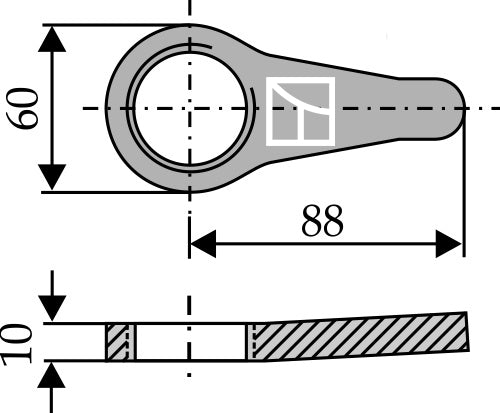
Vakiomalliset suorat sakkelit 22,2 mm; galvanoidut
Myyntihinta 94,00 SEK/ Ilman alv:tä
Paino: 1380 kg


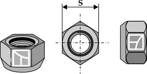
Itselukittuva kuusikulmainen mutteri - M22x1,5 - 8.8
Myyntihinta 24,00 SEK/ Ilman alv:tä
Paino: 70 kg











































