

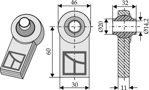
Sahanterä - voidaan käyttää oikealla ja vasemmalla
Myyntihinta 280,00 SEK/ Ilman alv:ta
Paino: 1330 kg














































